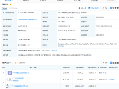
- 广汽集团等成立创投基金
2026-03-13
- 塞力医疗等成立医学检验实验室公司
2026-03-13
- 比亚迪注册多枚“比亚迪天算”商标
2026-03-13
- 赣锋锂业等在内蒙古成立数智能源科技公司
2026-03-13
- 森特股份在重庆成立新能源公司,含储能技术服务业务
2026-03-13
- 富临精工等在广西成立新材料公司,注册资本3亿元
2026-03-13
- 三八妇女节美妆消费热潮涌动,超3成化妆品生产相关企业在一线城市
2026-03-13
一加15T新机亮点多:磁吸配件丰富,小屏旗舰配置全面升级
结合来看,全新的一加15T内置7500mAh 冰川电池,比大屏旗舰还更大;支持100W 超级闪充,全场景旁路供电,还升级 50W 无线充电。按照爆料中的信息来看,一加 16 将在今年第四季度发布,有望配备…
2026-03-12
微信更新实用功能:语音视频可忽略、翻译更便捷、视频能锁屏
2026-03-12
AWE2026石头科技全系新品登场,以技术创新推动智能清洁产业生态升级
2026-03-12
AI入厨房新突破!老板电器全球首推AI烹饪眼镜,开启烹饪新视角
2026-03-12
- 大众汽车“核心”品牌集群2025年稳健前行 经营利润与销量双增长
2026-03-12
- 智元机器人在上海成立科技服务公司
2026-03-12
- 摩尔线程旗下公司增资至2.65亿元
2026-03-12
- 英派斯在海南成立体育人工智能公司
2026-03-12
- 灵心巧手等成立灵妙动力科技新公司
2026-03-12
- 智元机器人联合隆鑫通用、卧龙电驱,新设两家具身智能公司
2026-03-12
- 人机交互技术产品研发商灵伴科技完成股改
2026-03-12
- 远景能源等在内蒙古成立新能源开发应用公司
2026-03-12