近日,有网友发帖称,“国庆去西贝。不知道其他店怎么样,石景山万达这家,餐厅logo从之前的红白配色换成了白绿配色,‘莜面村’改成了‘我从草原来’,看着清新舒服了很多。”
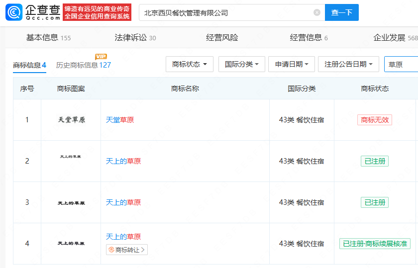
查询西贝官网发现,今年年初其曾进行Logo焕新升级,“西贝莜面村”升级为“西贝XIBEI”,图片仍为红白配色。企查查APP显示,北京西贝餐饮管理有限公司曾注册“天上的草原”商标,内蒙古西贝餐饮集团有限公司也曾注册“西贝 每天一头草原牛”商标。
- 拓维信息成立云智科技公司,含多项AI相关业务
2025-10-11

- 长鑫科技IPO辅导完成:企查查显示其融资6轮,阿里巴巴是股东
2025-10-11

- 卡莱特等新设智算科技公司,含AI业务
2025-10-11

- 竞业达新设子公司,含AI软件开发业务
2025-10-11

- 人形机器人亿元级订单接连落地,企查查显示现存相关企业突破千家
2025-10-11

张一鸣隐退三年后现身,携创新中心“掘金”AI人才潜力新蓝海
张一鸣在现场说的一句话,估计戳中了不少职场人和面试官的心声:“很多人才的潜力根本没被挖出来。” 卸任CEO时他就说要关注“远景战略和社会责任”,现在终于露出了底牌:字节已经是巨头了,但中国AI的未来,得靠能…
2025-10-10
特斯拉加速“擎天柱”量产,Meta与微美全息共推人形机器人生态发展
“特斯拉擎天柱”一直是特斯拉公司的受关注项目,数年前首次对外公布,而在过去一年中,该项目的重要性显著提升,也成为特斯拉更核心的关注焦点。 与此同时,据消息,Meta已将人形机器人项目(内部代号“Metabot…
2025-10-10
AI大模型:学习能力惊人引担忧,人类该如何筑牢安全防火墙?
至于大家觉得像人,当时有认知科学家就分析,说这是因为人类天然有拟人化的偏见,会把有人类特征的东西投射在非人实体上,这种事在视觉上其实更常见,比如这张图。 比方说马斯克就老琢磨,AI这玩意儿以后估计要都集中在…
2025-10-10
- 贵州村超体育产业公司注册成立
2025-10-10

- 银河通用机器人、百达精工等新设机器人公司
2025-10-10
