近日,有网友发帖称,“国庆去西贝。不知道其他店怎么样,石景山万达这家,餐厅logo从之前的红白配色换成了白绿配色,‘莜面村’改成了‘我从草原来’,看着清新舒服了很多。”
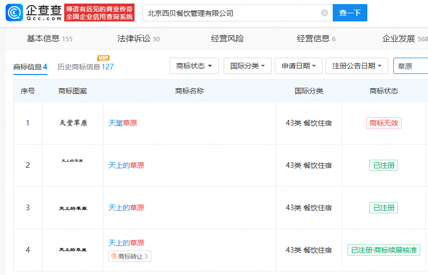
查询西贝官网发现,今年年初其曾进行Logo焕新升级,“西贝莜面村”升级为“西贝XIBEI”,图片仍为红白配色。企查查APP显示,北京西贝餐饮管理有限公司曾注册“天上的草原”商标,内蒙古西贝餐饮集团有限公司也曾注册“西贝 每天一头草原牛”商标。
- 竞业达新设子公司,含AI软件开发业务
2025-10-12

- 芯原股份在上海新设天遂芯愿科技公司
2025-10-12

- 软通动力等在广州新设谷硅动力科技公司
2025-10-12

- 上海电力、天合光能等成立海上风力发电公司
2025-10-12

- 星宇股份成立智能机器人公司,注册资本1亿元
2025-10-12

- 鞍钢股份、海通恒信等新设企管合伙企业
2025-10-12

- 海希通讯等成立新公司,含集成电路业务
2025-10-12

- 天阳科技等成立新公司,含AI业务
2025-10-12

- 隆基绿能在广西柳州投资成立新公司
2025-10-12

- 新铝时代成立子公司,含智能机器人业务
2025-10-12
