近日,有网友发帖称,“国庆去西贝。不知道其他店怎么样,石景山万达这家,餐厅logo从之前的红白配色换成了白绿配色,‘莜面村’改成了‘我从草原来’,看着清新舒服了很多。”
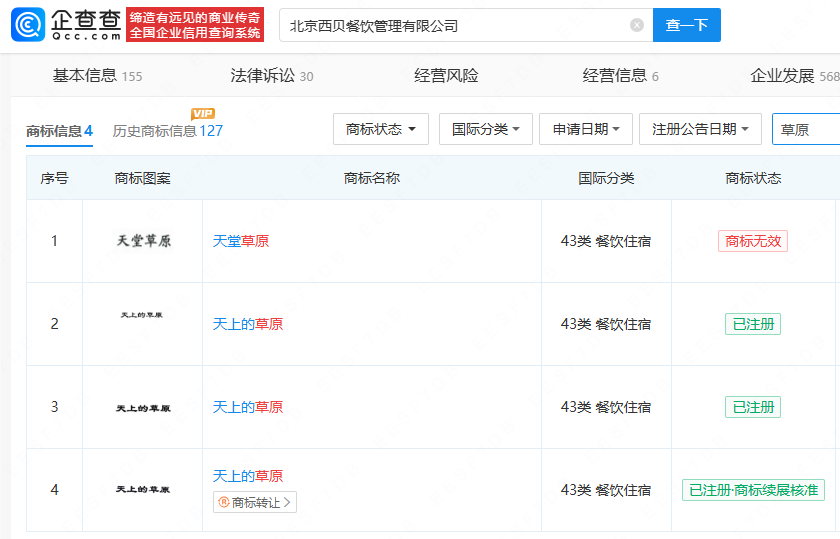
查询西贝官网发现,今年年初其曾进行Logo焕新升级,“西贝莜面村”升级为“西贝XIBEI”,图片仍为红白配色。企查查APP显示,北京西贝餐饮管理有限公司曾注册“天上的草原”商标,内蒙古西贝餐饮集团有限公司也曾注册“西贝 每天一头草原牛”商标。


近日,有网友发帖称,“国庆去西贝。不知道其他店怎么样,石景山万达这家,餐厅logo从之前的红白配色换成了白绿配色,‘莜面村’改成了‘我从草原来’,看着清新舒服了很多。”
查询西贝官网发现,今年年初其曾进行Logo焕新升级,“西贝莜面村”升级为“西贝XIBEI”,图片仍为红白配色。企查查APP显示,北京西贝餐饮管理有限公司曾注册“天上的草原”商标,内蒙古西贝餐饮集团有限公司也曾注册“西贝 每天一头草原牛”商标。


2025-10-23
2025-10-23
2025-10-23
2025-10-23
2025-10-23
2025-10-23
2025-10-23
2025-10-23
2025-10-23
2025-10-23