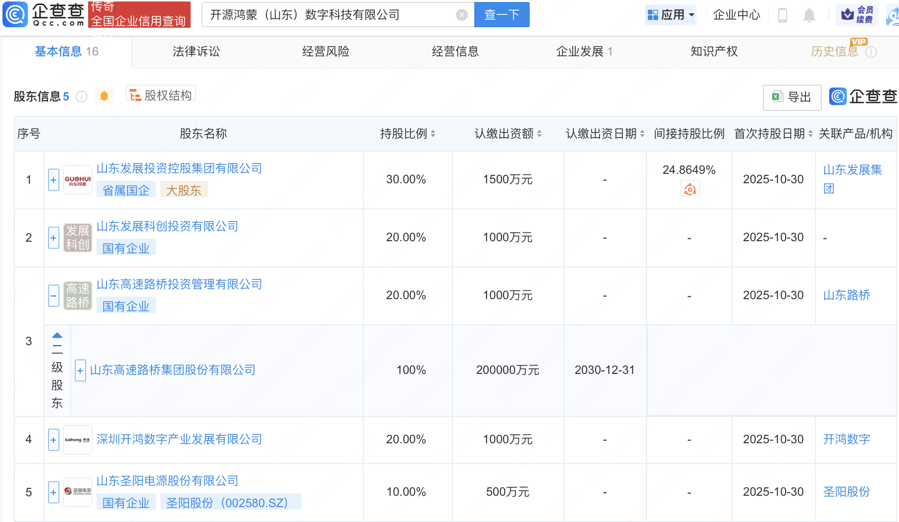
企查查APP显示,近日,开源鸿蒙(山东)数字科技有限公司成立,注册资本5000万元,经营范围包含:智能无人飞行器制造;人工智能行业应用系统集成服务;人工智能硬件销售;智能机器人销售;智能机器人的研发等。企查查股权穿透显示,该公司由山东路桥(000498)全资子公司山东高速路桥投资管理有限公司、圣阳股份(002580)等共同持股。


企查查APP显示,近日,开源鸿蒙(山东)数字科技有限公司成立,注册资本5000万元,经营范围包含:智能无人飞行器制造;人工智能行业应用系统集成服务;人工智能硬件销售;智能机器人销售;智能机器人的研发等。企查查股权穿透显示,该公司由山东路桥(000498)全资子公司山东高速路桥投资管理有限公司、圣阳股份(002580)等共同持股。


2025-11-15
2025-11-15
2025-11-15
2025-11-15
2025-11-15
2025-11-15
2025-11-15
2025-11-15
2025-11-15
2025-11-15