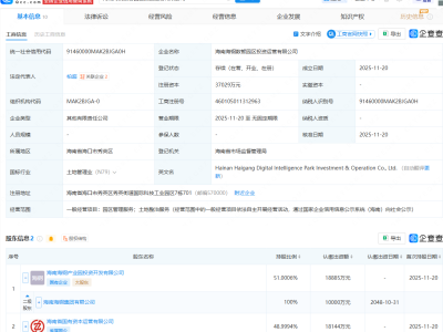
企查查APP显示,近日,深圳像素绽放科技有限公司发生工商变更,新增北京市人工智能产业投资基金(有限合伙)等为股东,同时注册资本增至333.057万元。企查查信息显示,该公司成立于2021年,经营范围包含:人工智能应用软件开发;数据处理服务;图文设计制作等。公开信息显示,像素绽放是一家AI办公工具研发商。


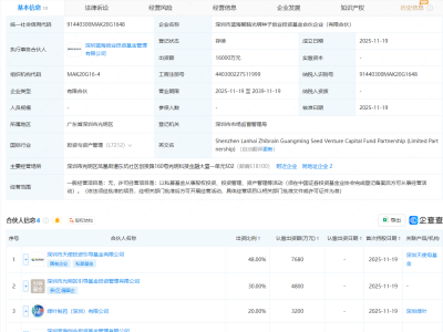
企查查APP显示,近日,深圳像素绽放科技有限公司发生工商变更,新增北京市人工智能产业投资基金(有限合伙)等为股东,同时注册资本增至333.057万元。企查查信息显示,该公司成立于2021年,经营范围包含:人工智能应用软件开发;数据处理服务;图文设计制作等。公开信息显示,像素绽放是一家AI办公工具研发商。


2025-11-26
2025-11-26
2025-11-26
2025-11-26
2025-11-26
2025-11-26
2025-11-26
2025-11-26
2025-11-26
2025-11-26