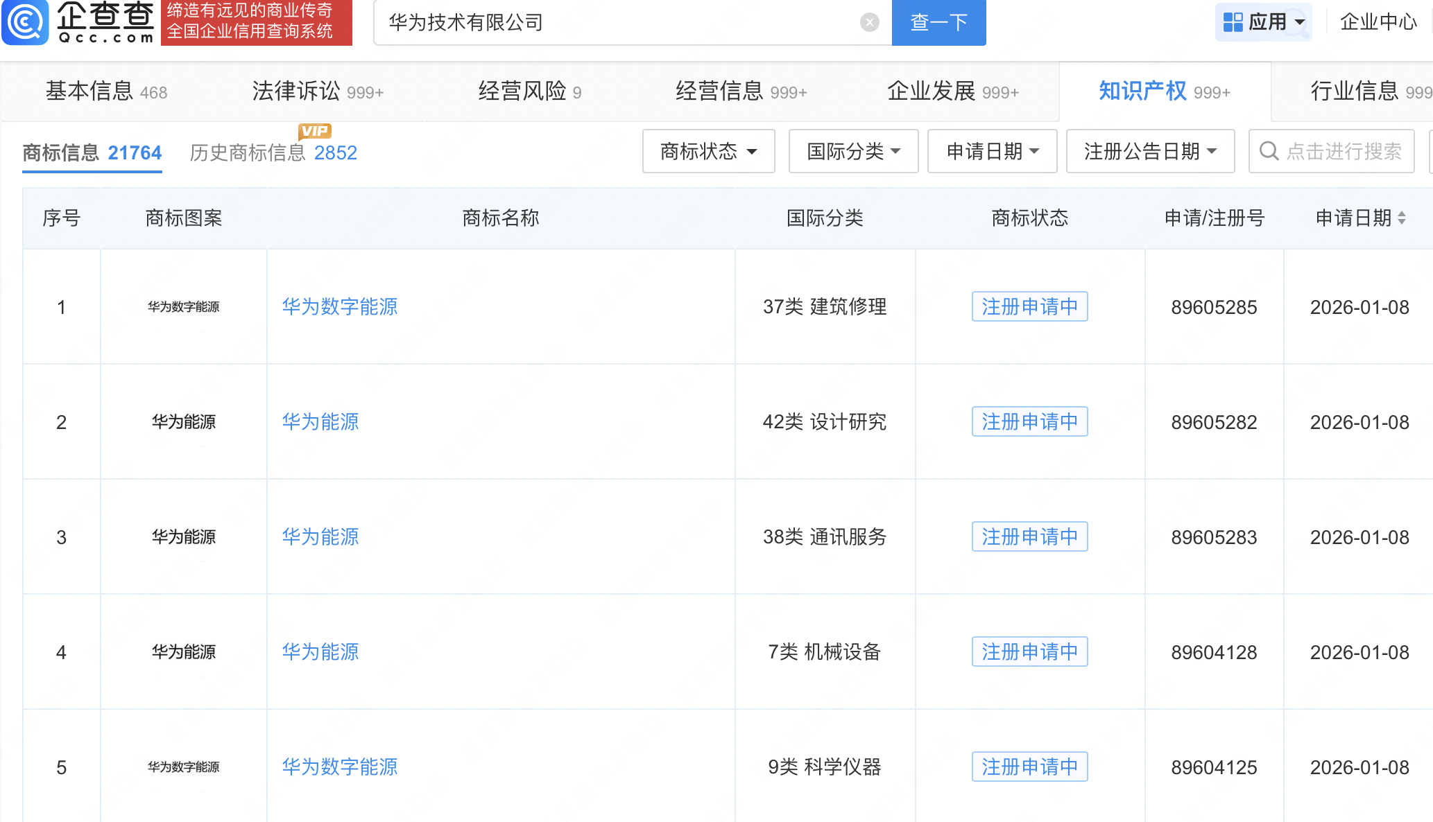
企查查APP显示,近日,华为技术有限公司申请注册多枚“华为能源”“华为数字能源”商标,国际分类包括科学仪器、机械设备等,当前商标状态均为注册申请中。

企查查APP显示,近日,华为技术有限公司申请注册多枚“华为能源”“华为数字能源”商标,国际分类包括科学仪器、机械设备等,当前商标状态均为注册申请中。

2026-02-11
2026-02-11
2026-02-11
2026-02-11
2026-02-11
2026-02-11
2026-02-11
2026-02-11
2026-02-11
2026-02-11