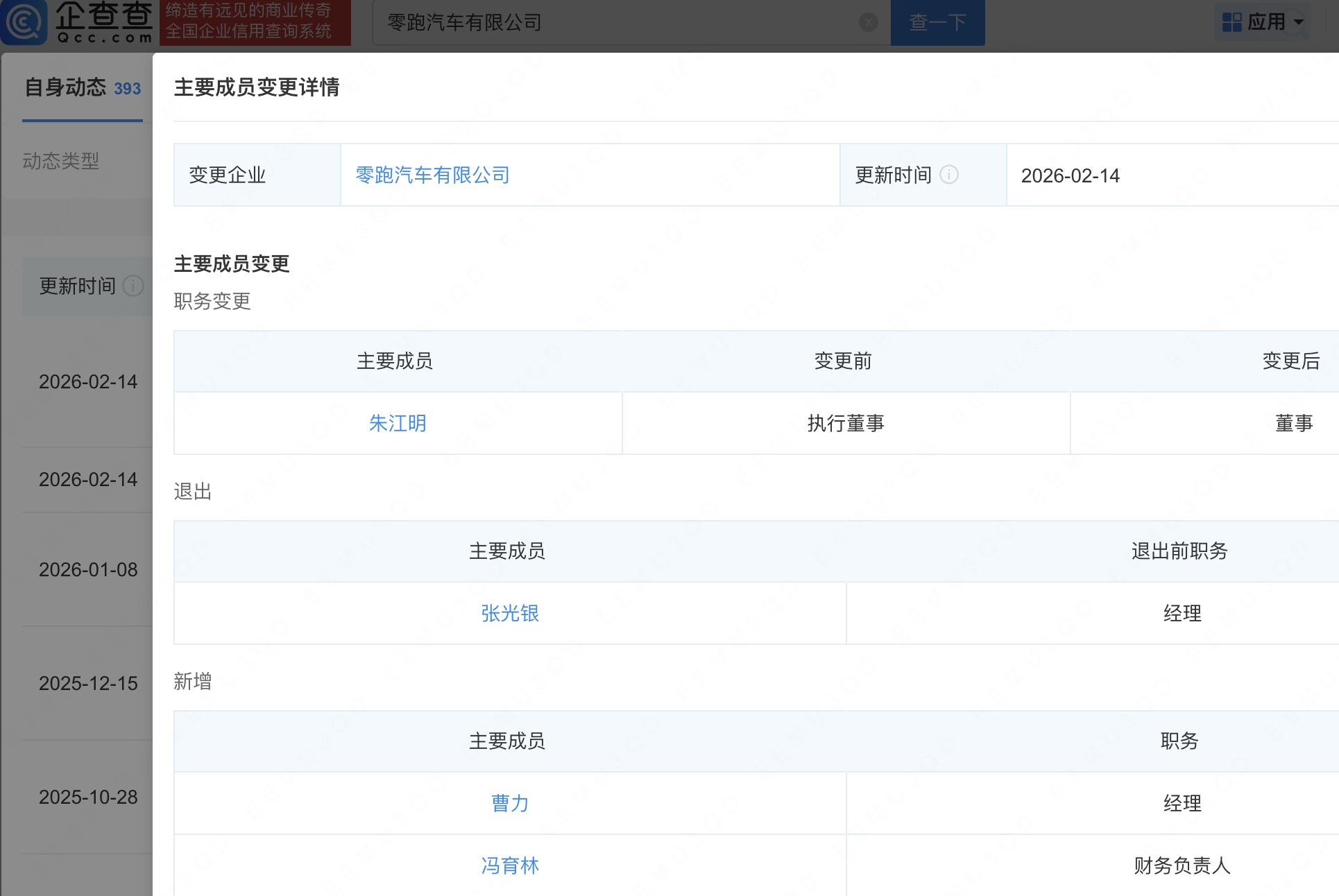
企查查APP显示,近日,零跑汽车有限公司发生工商变更,注册资本由47.08亿人民币增至55.58亿人民币,朱江明由执行董事改任董事,同时,多位高管发生变更。企查查信息显示,该公司成立于2017年,由零跑汽车(09863.HK)全资持股。



企查查APP显示,近日,零跑汽车有限公司发生工商变更,注册资本由47.08亿人民币增至55.58亿人民币,朱江明由执行董事改任董事,同时,多位高管发生变更。企查查信息显示,该公司成立于2017年,由零跑汽车(09863.HK)全资持股。



2026-02-24
2026-02-24
2026-02-24
2026-02-24
2026-02-24
2026-02-24
2026-02-24
2026-02-24
2026-02-24
2026-02-24