网界
网络资讯 网界财经 科技人物 数据洞察 行业动态 智能出行 智能手机 数码极客 商业资讯

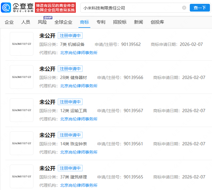
小米注册多枚“XIAOMI YU7 GT”商标

2026-04-09来源:企查查编辑:瑞雪

企查查APP显示,近日,小米科技有限责任公司申请注册多枚“XIAOMI YU7 GT”商标,国际分类包括运输工具、珠宝钟表等,当前商标状态均为注册申请中。据悉,小米YU7 GT是小米汽车计划推出的一款高性能纯电SUV。