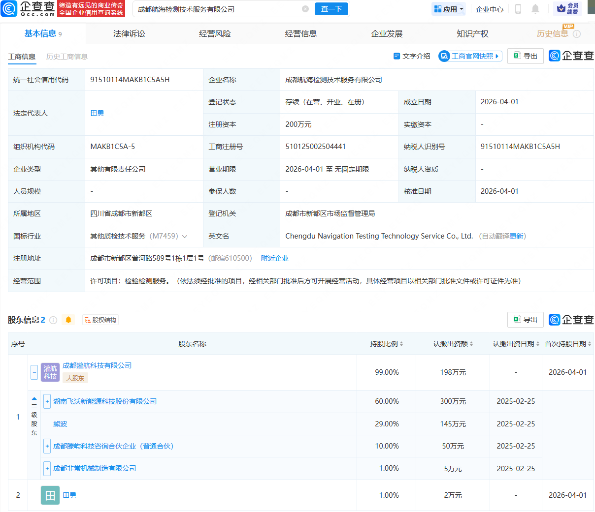
企查查APP显示,近日,成都航海检测技术服务有限公司成立,法定代表人为田勇,经营范围包含:检验检测服务。企查查股权穿透显示,该公司由飞沃科技(301232)旗下成都灌航科技有限公司等共同持股。

企查查APP显示,近日,成都航海检测技术服务有限公司成立,法定代表人为田勇,经营范围包含:检验检测服务。企查查股权穿透显示,该公司由飞沃科技(301232)旗下成都灌航科技有限公司等共同持股。

2026-04-14
2026-04-14
2026-04-14
2026-04-14
2026-04-14
2026-04-14
2026-04-14
2026-04-14
2026-04-14
2026-04-14