4月21日,宁德时代(300750)在其超级科技日上,发布了麒麟凝聚态电池新品,据悉,搭载该电池的电动车续航可达1500公里。
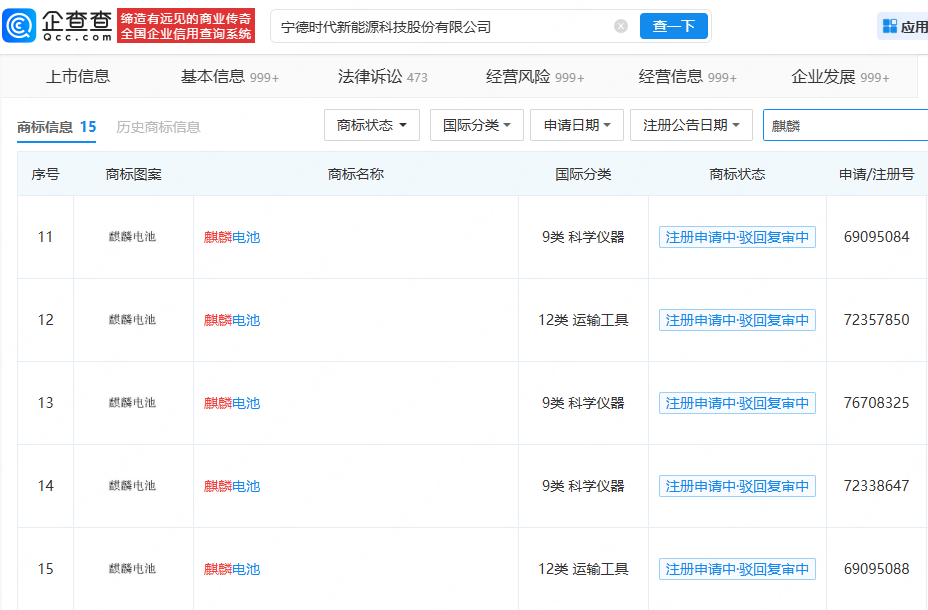
企查查APP显示,宁德时代已申请注册多枚“麒麟”、“麒麟电池”、“时代麒麟”商标,国际分类包括运输工具、科学仪器等。


4月21日,宁德时代(300750)在其超级科技日上,发布了麒麟凝聚态电池新品,据悉,搭载该电池的电动车续航可达1500公里。
企查查APP显示,宁德时代已申请注册多枚“麒麟”、“麒麟电池”、“时代麒麟”商标,国际分类包括运输工具、科学仪器等。


2026-04-22
2026-04-22
2026-04-22
2026-04-22
2026-04-22
2026-04-22
2026-04-22
2026-04-22
2026-04-22
2026-04-22